ОТРАСЛЕВОЙ РЕСУРС
О портале | О журнале | Свежий номер | Подписка | Электронная версия журнала | Отзывы | Реклама на портале | Реклама в журнале | English   
ПЕРСОНАЛЬНАЯ СТРАНИЦА
Зарегистрированных посетителей: 22291

ЖУРНАЛ ТБО (№1 2026)
Просмотр выпуска
Архив номеров | Подписка

НОВОСТИ


КОНТАКТЫ
Адрес редакции: 105066, Москва, Токмаков пер., д. 16, стр. 2, пом. 2, комн. 5

Редакция:
Телефон: +7 (499) 267-40-10
E-mail: red@solidwaste.ru

Отдел подписки:
Прямая линия:
+7 (499) 267-40-10
E-mail: podpiska@vedomost.ru

Отдел рекламы:
Прямая линия:
+7 (499) 267-40-10
+7 (499) 267-40-15
E-mail: reklama@vedomost.ru

Вопросы работы портала:
E-mail: support@solidwaste.ru

ПОПУЛЯРНЫЕ ЗАПРОСЫ

Главная страница / Утилизация отходов / Технология производства

Комплекс устройств для утилизации ТБО и промышленных отходов


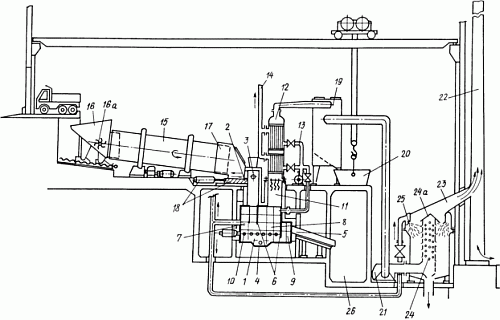
Изобретение относится к области переработки твердых промышленных и бытовых отходов, в частности к оборудованию для их утилизации. Задача изобретения - создание комплекса устройств для утилизации ТБО, обеспечивающего надежность и бесперебойность работы в течение длительного времени при соблюдении экологических требований как при загрузке отходов в печь, так и при выходе конечных газообразных продуктов.

Технические характеристики
Указанная задача решена (см схему ниже) за счет того, что кессоны, которыми облицованы внутренние поверхности печи, снабжены патрубками для входа и выхода хладагента, выведенными на ее наружную поверхность, печь разделена перегородками с образованием загрузочной, плавильной и сифонной камер, и выполнена с окнами для загрузки отходов и флюсов. Непосредственно над газоходом печи расположен теплообменник, выполненный в виде двухступенчатого холодильника и обеспечивающего резкое охлаждение дымовых газов до температуры 20-25С. Система очистки газа, соединенная с холодильником, представляет собой ряд соединенных между собой фильтров и связана с дымососом и сборником твердой фракции, предназначенным для ее возврата в приемный бункер загрузочного устройства, а между дымососом и выхлопной трубой установлено устройство для поглощения газообразного хлора, снабженное распылителем дымового газа с отражателем на его конце и форсунками распыления воды, расположенными по периметру на уровне отражателя.

Дополнительная информация
Защищено патентом РФ № 2185572.

Предприятия производители:

Семенов Виктор Никонорович







Уважаемые коллеги!
Приглашаем Вас принять участие в наполнении этого раздела.
Информацию о Вашем предприятии, видах вторичного сырья, отходов и используемых технологиях можно присылать по адресу support@solidwaste.ru



Выставка «ЭБГ 2026»


КАТАЛОГ ВТОРСЫРЬЯ

Выставка «Wasma 2026»
ЦЕНЫ НА ВТОРСЫРЬЕ

КАТАЛОГ ПРЕДПРИЯТИЙ
Юридический центр Теньковской
Оформляем лицензии на обращение с опасными отходами. Всесторонняя и комплексная помощь в получении лицензии в Росприроднадзоре. Комплекс оказываемых нами услуг: - сбор документов (лицензионного дел...

ЗАО ТУРМАЛИН
Производим инсинераторы серии ИН-50 (20-5000 кг/ч), сертифицированные в РФ, соответствующие санитарным и экологическим нормам РФ и требованиями Директивы 2000/76 ЕС.

ООО ПВП ЭКОВТОРРЕСУРС
ООО "Эковторресурс" является единственным (в Южном Федеральном Округе, Ростовской области) предприятием перерабатывающем промышленные отходы. На балансе предприятия стоит целый ряд уникального оборудо...

ВСЕ ПРЕДПРИЯТИЯ

ПОПУЛЯРНЫЕ ЗАПРОСЫ

СДЕЛАЙ САМ

Еще по теме "Утилизация холодильников"

МЕНЮ ПОРТАЛА "ТВЕРДЫЕ БЫТОВЫЕ ОТХОДЫ"

© 2007-2026 Издательский дом "Отраслевые ведомости".
Вся информация, размещённая на данном сайте, принадлежит ООО "Отраслевые ведомости".
Несанкционированное копирование информации без ссылки на источник категорически запрещено

Rambler's Top100 Рейтинг@Mail.ru
Mon, 19 Jan 2026 22:29:45
Настоящим, в соответствии с Федеральным законом № 152-ФЗ «О персональных данных» от 27.07.2006 года, Вы подтверждаете свое согласие на обработку компанией ООО «Концепция связи XXI век» персональных данных: сбор, систематизацию, накопление, хранение, уточнение (обновление, изменение), использование, передачу в целях продвижения товаров, работ, услуг на рынке путем осуществления прямых контактов с помощью средств связи, продажи продуктов и услуг на Ваше имя, блокирование, обезличивание, уничтожение.

Компания ООО «Концепция связи XXI век» гарантирует конфиденциальность получаемой информации. Обработка персональных данных осуществляется в целях эффективного исполнения заказов, договоров и иных обязательств, принятых компанией в качестве обязательных к исполнению.

В случае необходимости предоставления Ваших персональных данных правообладателю, дистрибьютору или реселлеру программного обеспечения в целях регистрации программного обеспечения на Ваше имя, Вы даёте согласие на передачу своих персональных данных.

Компания ООО «Концепция связи XXI век» гарантирует, что правообладатель, дистрибьютор или реселлер программного обеспечения осуществляет защиту персональных данных на условиях, аналогичных изложенным в Политике конфиденциальности персональных данных.

Настоящее согласие распространяется на следующие персональные данные: фамилия, имя и отчество, место работы, должность, адрес электронной почты, почтовый адрес доставки заказов, контактный телефон, платёжные реквизиты. Срок действия согласия является неограниченным. Вы можете в любой момент отозвать настоящее согласие, направив письменное уведомление на адрес: podpiska@vedomost.ru с пометкой «Отзыв согласия на обработку персональных данных».

Обращаем Ваше внимание, что отзыв согласия на обработку персональных данных влечёт за собой удаление Вашей учётной записи с соответствующего Интернет-сайта и/или уничтожение записей, содержащих Ваши персональные данные, в системах обработки персональных данных компании ООО «Концепция связи XXI век», что может сделать невозможным для Вас пользование ее интернет-сервисами.

Давая согласие на обработку персональных данных, Вы гарантируете, что представленная Вами информация является полной, точной и достоверной, а также что при представлении информации не нарушаются действующее законодательство Российской Федерации, законные права и интересы третьих лиц. Вы подтверждаете, что вся предоставленная информация заполнена Вами в отношении себя лично.

Настоящее согласие действует в течение всего периода хранения персональных данных, если иное не предусмотрено законодательством Российской Федерации.

Принимаю условия соглашения